Instructions For Lock Mode Change
1. Remove the 2 screws on the bottom.
2. Remove base plate and solenoid.
3. Turn assembly 180º and install into housing.
NOTE: Care should be taken to prevent damage to switch lever.
4. Insert the two screws.
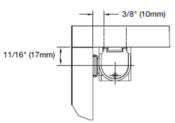
Installation Dimensions
surface and catch to secure catch position |
| Locking Pin Monitor Switch Wiring Diagram 125VAC; 1A / 30VDC; 0.5A |
Cabinet Lock Dual Voltage Wiring Diagram 12VDC (200mA) |
| Door Monitor Switch Wiring Diagram 125VAC; 3A / 30VDC; 2A |
Cabinet Lock Dual Voltage Wiring Diagram 24VDC (100mA) |