Resetting the Code/Combination From A Lost Code Simplex 1000
Important: There is no procedure for finding an unknown combination from the front of the lock. A lost combination must be cleared by removing the combination chamber from the lock housing, and then a new combination can be set.

1000 Series FAQ: Resetting the Code/Combination From a Lost Code
1. Remove the back plate from the front lock housing by removing the six back plate screws.
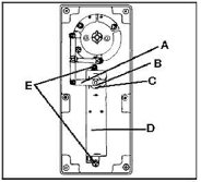
2. Lift the chamber linkage (A) off of the control shaft (B) by prying up with a small flat-blade screwdriver (see figure 1).
3. Remove the shaft bushing (C).
4. Remove the combination chamber (D) by removing the two Phillips head screws (E) at each end of the combination chamber.
5. Remove the chamber cover (A) marked Ilco Unican (see figure 2) by gently tapping the lip of the chamber cover at the control shaft end of the chamber (A) (see figure 3) with a screwdriver to detach it from the staked joints (B).
6. Lay the chamber on its side as shown in Figure 4.
7. With tweezers or another tool, slide the "e" ring (B) off the unlocking slide stud (A) (see figure 4), then gently lift the end of the unlocking slide (C) over the unlocking slide stud (A).
Note: The unlocking slide (C) is under spring tension and will be easier to lift if pushed to the left to ease tension. Swing the unlocking slide (C) sufficiently to clear the gears (D), no further than shown in Figure 5.
8. Depress the lockout slide (E). The gears (D) are now free to rotate (see figure 6).
9. Turn each gear (D) so that the gear pockets (F) are aligned as in figure 6.
10. Return the unlocking slide (C) over the unlocking slide stud (A) while making certain the five toes (G) are engaged in the five gear pockets (F). It may be necessary to adjust each gear slightly to make proper alignment between toes and gear pockets (see Figures 6 & 7). Re-secure the "e" ring (B) on the unlocking slide stud (A). Your chamber will now resemble figure 7. and is ready for reassembly into the lock housing.
REASSEMBLY
1. Re-secure the chamber cover (A). Make sure the staked joints (B) on both end plates fit through both slots on the back cover (see figure 2).
2. Re-secure the shaft bushing (C) with flat side facing up (see figure 1).
3. Secure the combination chamber (D) with the two Phillips head screws (E) you removed earlier (see figure 1).
4. Re-secure the chamber linkage (A) onto the control shaft (B) (see figure 1).
5. Re-secure the back plate and secure it with the six back plate screws.
SETTING THE COMBINATION
Do not attempt to set a combination until the complete unit has been reassembled. Perform the following steps in the order shown.
1. Turn the outside knob once clockwise to the stop position and then release.
2. Enter the new combination.
3. Turn the outside knob clockwise to the stop position, make sure the latch is fully retracted, then release the knob.
4. Repeat steps 2 & 3 before closing your door to confirm code setting.