How to Reset the Code/Combination from a Lost Code in Simplex 5000?
|
Note: There is no way to determine a forgotten, unknown or lost combination code from the front or outside of the lock. However, it can be reset and recovered or reset and changed to a new code by following the steps in this section. Warning: Since this procedure is of a technical nature, only technically trained personnel in the lock and hardware field should undertake this operation. For further assistance, call the Kaba Access Control technical support line at 800-849-TECH (8324) or 336-725-1331 between 8AM and 5PM Eastern Standard Time, Monday through Friday (except holidays). |
Resolution
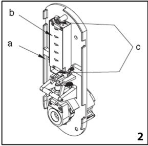
1. Removing Lock From Door Remove both the outside unit assembly (a) and the inside unit assembly (b) (see figure 1). Reverse procedures from sections E and F of this manual. 2. Removing Combination Chamber Assembly Carefully remove the base plate of outside unit assembly (a) by removing the 2 Phillips screws (one screw may be found under an inspection sticker). Remove the combination chamber assembly (b) from the base plate by removing the 2 Phillips screws (c) (see figure 2). Remove the 3-sided dust cover (d) to fully expose the chamber by removing 2 small Phillips screws (e) (see figure 3). May be 1 screw (x) in newer models.
3. Resetting and Recovery of Current Code To reset the code gears (a), each one of the 5 “L” shaped legs (b) of the unlocking slide (c) must engage snugly with the corresponding code gear pocket (d) next to it (see figure 4). Position the chamber in one hand, as shown (see figure 5). Hold chamber by the top screw tab (e) and bottom screw tab (f). Rotate the reset cam (g) back toward you with your finger, towards the key stems (h) as far as it will go and then release. Now look at the code gears (a) and the unlocking slide (c). Note that some or all 5 of the code gear pockets (d) are rotated away from the “L” shaped legs (b) as if out of alignment. Typically each code gear pocket will be at a slightly different distance compared to the other. Note: Sometimes two different gear pockets are away from alignment by exactly the same distance – this indicates that the current code uses two different number buttons (example, 2 and 4) depressed at the same time as part of the code combination. Using a small flat blade screw driver or your thumbnail, depress the key stem which corresponds to the gear pocket which has been rotated the farthest away (out of alignment) from the “L” shaped leg. When depressed, the key stem(s) should stay down and the corresponding gear pocket(s) should move closer to its corresponding “L” leg, closer to alignment. Record the key stem number. This is the first number of your combination. Note: If two gear pockets are at the same distance, depress both of these corresponding key stems at the same time. Continue by pressing the key stem that corresponds to the gear pocket that was the next furthest away (do not include gear pockets that have already been rotated). Record each key stem number that is depressed. Continue this procedure until all five gear pockets are aligned with their corresponding “L” shaped legs on the unlocking slide. The combination is the recorded numbers, in the order recorded. Note: If you depress the wrong key stem by mistake, rotate the reset cam back toward you, (toward the key stems and release). This resets the code gears and you must repeat the above procedure, Step 3. 4. Clearing the Current Code and Setting a New Code Note: Align the code gear pockets with the “L” shaped legs.
Depress the code change button (i) located on top of the combination chamber once and release (see figure 6). Rotate the reset cam back toward you with your finger (toward the key stems) as far as it will go and release. Enter your new combination code by depressing the key stem corresponding to the first number (1 through 5) of your code. For example, if the new code is 3-2-5, then you would depress 3 first, then 2 and finally 5. Record this new combination code for future reference. Push the shoulder (j) at the bottom of the Unlocking slide up toward the code change button and release. If each of the 5 “L” shaped legs of the unlocking slide engages snugly inside its corresponding code gear pocket, then it confirms that the new code has been successfully changed. Rotate the reset cam (g) back toward you and release. Note: If all 5 “L” shaped legs do not align fully with their corresponding code gear pockets, repeat the procedures 3 and 4. 5. Reinstalling Chamber Assembly Into Lock and Retesting Reinstall the 3-sided dust cover over the combination chamber with the 2 small Phillips screws removed (may be 1 screw in newer models). Reinstall the combination chamber assembly to the base plate with the 2 Phillips screws removed. Reinstall the base plate on to the outside lock assembly with the 2 Phillips screws removed. Make sure all parts have been reinstalled correctly. 6. Reinstall Lock on Door
7. Retest New Code With Lock on Door |
Additional InformationClick on below the link to watch the Video on How to Reset a lost/unknown combination of Simplex 5000 Code. |
Applies ToSimplex 5000 Series Locks |