How to Reset Unknown Combination Code in Simplex 1000, 2015, 3000, 6200, 8100, 9600, 900, L1000, LP1000, EE1000, 7100, FG File Guard |
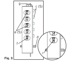
Remove the combination chamber from the lock. Steps
Note: Shear line (open position) references the “L” shaped feet already aligned with the mating gear pocket.
Note: If any of the code gear pockets travel past the shear line, the keystems have been depressed in the wrong sequence. Start over at step 2.
Reinstallation: Reinstall the chamber into the lock. Testing: Turn outside knob/lever and release (for thumbturn models, turn counterclockwise). Enter code. Turn knob/lever (for thumbturn models, turn clockwise). Latch should retract. |
Applies ToSimplex 1000, 2015, 3000, 6200, 8100, 9600, 900, L1000, LP1000, EE1000, 7100, FG File Guard |