Answer Note: If your lock is opening on every turn of the knob or lever, except upon entering a code, this may be a ZERO CODE. Before attempting to remove the lock from the door, refer to the troubleshooting procedures outlined at bottom of this document for a zero code symptom/solution. For your security the combination must be changed when the lock is installed. Perform this procedure with the door open.  The factory-set code is 2 and 4 depressed simultaneously release, followed by 3 release. This code should be changed as soon as the lock is installed. - Turn the thumbturn to the left (counterclockwise) to the stop position and release. This will clear any random entries from the mechanism.
- Enter the existing combination.
- Gently remove the rubber cap (A) covering the combination change hole and save (see figure 1).
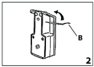
- Insert the pointed end of the spanner wrench (B) into the combination change hole as shown (see figure 2).
- Gently lift up until a slight click is heard or felt. Do not force.
- Remove the spanner wrench.
- Turn the outside thumbturn to the left (counterclockwise) to the stop position and release to clear the old combination.
- Select a new code and write it down (some or all of the buttons may be used for your new code, depressed individually or simultaneously). Each button may be used only once.
- With the door open, enter your new code. Depress each button fully and release. A slight click should be felt as each button is depressed.
- Turn the thumbturn to the right (clockwise) to the stop position and hold. The latch should retract (see figure 4).
- Release the thumbturn.
- Try to turn the thumbturn to the right (clockwise) again. The thumbturn will not turn clockwise unless the correct combination is entered.
Note: Excessive force will slip the thumbturn 180°. The slipping mechanism (force-proof clutch) protects the lock’s internal mechanism from forced entry. - Turn the thumbturn to the left (counterclockwise) to the stop position.
This will clear any previously depressed buttons. - Enter the new combination. Turn the thumbturn to the right (clockwise).
The thumbturn should rotate. The latch will be retracted flush with the face plate. The correct combination must be entered each time you want to unlock the door. - Replace the rubber cap to cover the combination change hole.
Troubleshooting Symptom/problem: Without depressing any buttons, the outside thumbturn always retracts the latch when it is turned clockwise. Cause: Lock is in zero combination. Solution: Follow the procedure for changing a combination except omit step 2 (do not enter the existing combination) |