Answer Note: If your lock is opening on every turn of the knob or lever, except upon entering a code, this may be a ZERO CODE. Before attempting to remove the lock from the door, refer to the troubleshooting procedures outlined at bottom of this document for a zero code symptom/solution. For your security the combination must be changed when the lock is installed. The door must be open. 
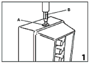
On models with passage feature, make sure the passage feature is disengaged: turn knob or key should be in vertical position. - Remove the tamper proof allen screw (A) using (B) tamper proof allen wrench supplied with lock (see figure 1).
- Turn the outside lever once to the stop position then release (see figure 3).
- Enter the existing combination. On new installations, enter the factory- set combination: depress buttons 2 and 4 simultaneously (release) , then depress button 3 (release). You should feel a click as each button is depressed.
- Insert the pick tool (C) as shown in figure 2. Gently depress pick tool in hole (a slight click should be felt), then remove the pick tool.
- Turn the outside lever once to the stop position then release (see figure 3).
- Select a new combination, write it down, then enter the new combination—depress buttons carefully (a slight click should be felt as each button is depressed)
Note: You can use one button or all five for a combination, but each button can only be used once. You can press two or more buttons simultaneously as a step in the combination. - Turn the outside lever once, all the way until it stops, hold in position and make sure the latch is retracted fully. Release the lever. Turn the lever again to the stop position. At this point, the latch should not retract unless you enter the new combination (see figure 3).
- Re-secure anti-tamper screw into housing (see figure 4).
Troubleshooting Symptom/problem: Outside lever when turned always retracts latch without depressing any buttons. Cause: Lock is in zero combination. Solution: Follow the procedure for changing a combination except omit step 3 (do not enter the existing combination). |