YG80 Weatherproof Lock - Description, Features and Dimensions
Overview
The YG80 is a low-voltage motor-driven heavy-duty lock suited for securing gates, roll up doors, shipping containers, and any other large door or entryway. The YG80 is designed to be weatherproof, low maintenance, and easy to install. It is supplied with a matching strike plate and can be installed externally or internally in a horizontal or vertical position. A solid 18mm diameter stainless steel bolt pin ensures the highest strength while a bolt pin extension of 30mm offers flexible installation.
Key Features
Integrated electronics provide complete control over the lock and offer an array of features.
- Multi–voltage input (12-24VDC)
- Ingress protection to IP67
- Built-in heater for colder climates
- Multiple locking / unlocking attempts
- Multiple control methods
- Fail Safe / Fail Secure user selection with a single switch
- Door position monitoring
- Bolt locked and Bolt unlocked monitors
- Tamper Detection monitoring
The lock incorporates complete waterproofing to seal the lock around the bolt pin and lid, and wiring is run securely through a cable gland in the lock's base.
What’s Included in the Box
In the box you will find the Lock, with attached 3 meter sealed cable; the Strike, with Strike Configuration Guide; and the Neoprene Gasket.
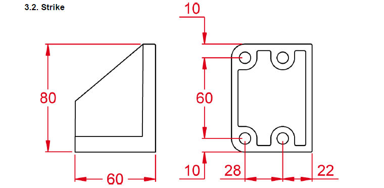
Because the YG80 can be installed onto various mounting surfaces, with different requirements for fasteners depending on the surface material, no mounting bolts are supplied. The 3 mounting holes in the lock and 4 in the strike are 8mm holes so accept M8 size bolts (or similar fasteners).
The included 1mm thick neoprene gasket provides insulation and shock protection between the YG80 and its mounting surface. By using the neoprene gasket, you ensure that the heat generated when the internal heater is active (See Section 7.3) is not removed from the lock, this can occur when the mounting surface acts as a heat sink.
In freezing climates or where wind chill is a problem, it is recommended to consider covering the lock in an insulating material alongside use of the neoprene gasket. Very cold air temperatures or strong winds can pull heat off of the YG80 faster than the heater can produce, so an insulating cover will ensure the heat is retained and allow the YG80 to operate correctly and efficiently.
Dimensions
The dimensions shown (in millimeters) are approximate and are subject to change without prior notice.