How to reset the Code/Combination from a lost Code in Simplex LP1000 Code? |
Important: There is no procedure for finding an unknown combination from the front of the lock. A lost combination must be cleared by removing the combination chamber from the lock housing, then a new combination can be set.
Steps
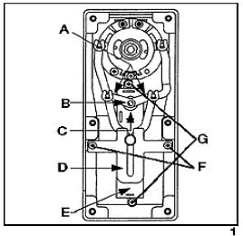
Note: The unlocking slide (C) is under spring tension and will be easier to lift if pushed to the left to ease tension. Swing the unlocking slide (C) sufficiently to clear the gears, (D) no further than shown in figure 5.
REASSEMBLY
SETTING THE COMBINATIONDo not attempt to set a combination until the complete unit has been reassembled. Perform the following steps in the order shown.
|
Applies ToSimplex LP1000 |